



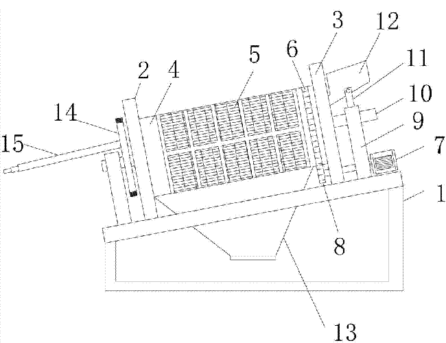
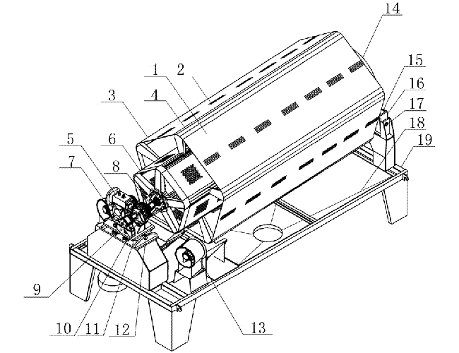
立友有著多名滾筒篩技術人員,有著多年研發經驗,是一家專業服務單位。其主要產品有滾筒篩沙機,無軸滾筒篩,小型滾筒篩等不同型號大小的設備,歡迎來到我廠家實地考察。
多年來立友人本著“科技是第一生產力”的宗旨,先后與國內多所著名院校和多所設計研究院建立了密切的技術合作關系。鑄就了一支高素質的技術隊伍,不斷開發研制出高新技術產品。.......


新鄉市立友機械有限公司
TEL/FAX:0373-2495788
聯系人:苗經理 13782587121
張濤 13569837649
地址:新鄉市七里營鎮南魏莊工業園3號